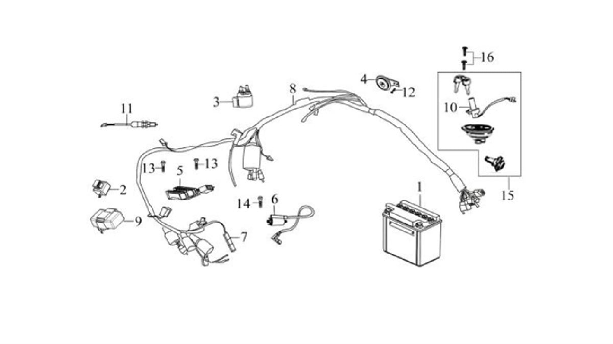
ELEKTRİK TESİSATI ( CR1 )
ELEKTRİK TESİSATI ( CR1 )

ELEKTRİK TESİSATI ( CR1 ) (KM 41865)

Marka : KUBA
Fiyat : ₺1.425,00(KDV Dahil)
cultureSettings.RegionId: 0 cultureSettings.LanguageCode: TR
Çerez Kullanımı

Sizlere en iyi alışveriş deneyimini sunabilmek adına sitemizde çerezler(cookies) kullanmaktayız. Detaylı bilgi için Kvkk sözleşmesini inceleyebilirsiniz.