PİSTON SEKMAN TAKIM (RNX)
PİSTON SEKMAN TAKIM (RNX)

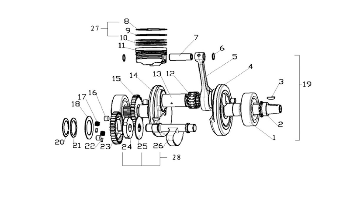
PİSTON SEKMAN TAKIM (RNX) (RK 18632)

Marka : RKS
Fiyat : ₺509,00(KDV Dahil)
cultureSettings.RegionId: 0 cultureSettings.LanguageCode: TR
Çerez Kullanımı

Sizlere en iyi alışveriş deneyimini sunabilmek adına sitemizde çerezler(cookies) kullanmaktayız. Detaylı bilgi için Kvkk sözleşmesini inceleyebilirsiniz.